
Серия 80/34
3581V : Верхний и основной сегменты регулируются по высоте + 220 мм.
Стандарты и утверждения: DIN, NEN, EN, DVGW
Для клиновых задвижек газопроводов
Серия 80/34 (DIN 3581V)
С регулируемой высотой. С термостойкостью до макс. +250°С
Серия 80/33 (DIN 3581Z) с термостойкостью до макс. +250°С
Стандартная гравировка на крышке — «GAS»
Другой текст на крышке (среди имеющихся на AVK)
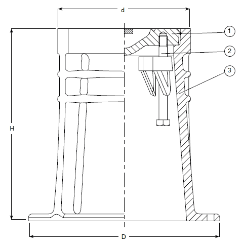
| 1. Крышка |
| 2. Болт |
| 3. Корпус |
| Корпус коробки | Пластмасса РА+ |
| Крышка | GG-20 |
| Болт | Нержавеющая сталь А2 |
Артикул |
Гравировка | D, мм | d, мм | H, мм | Вес корпуса, кг | Вес крышки, кг |
| 80-3413000 (DIN 3581V) | GAS | 280 | 190 | 290 | 2,5 | 3,6 |
| 80-3403200 (DIN 3581Z) | 275 | 195 | 280 | 2,5 | 3,6 |