
Серия 727/08
Хомут с возможностью установки под давлением
на ПЭ / ПВХ трубoпроводахПо стандартам DIN / EN
Со встроенной фрезой и отводом с внутренней резьбой по стандарту BSP ½"- 2"
Для воды с температурой до +70°С
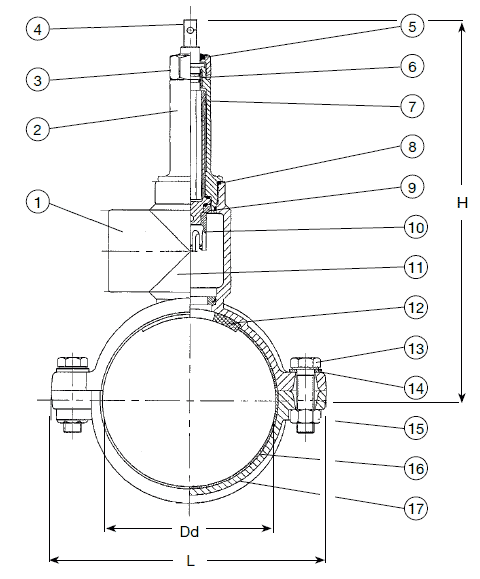
| 1. Корпус | 10. Фреза |
| 2. Верхняя часть | 11. Седло задвижки |
| 3. Гайка | 12. Прокладка |
| 4. Наконечник штока | 13. Болт |
| 5. Грязесъемное кольцо | 14. Шайба |
| 6. Подшипник | 15. Гайка |
7. Вал фрезы |
16. Резиновая обкладка |
| 8. О-кольцо | 17. Нижняя часть хомута |
| 9. Уплотнение задвижки |

| Корпус хомута | Шарографитный чугун GJS-400-15 (GGG-40) |
| Покрытие | Эпоксидное порошковое внутри и снаружи по DIN 30677-2, нанесённое электростатическим способом |
| Шток и фреза | Нержавеющая сталь AISI 304 |
| Уплотнение штока | грязесъемное кольцо NBR, внутри 2 шт. О-кольца из NBR и 2 шт. снаружи пластикового подшипника |
| Уплотнение задвижки | ПОМ |
| Верхняя часть корпуса, фреза штока, гайка и седло задвижки | Латунь CZ 132 |
| Резиновая обкладка, прокладка и О-кольцо | резина NBR |
| Болты | Нержавеющая сталь AISI 304 |
| Шайбы |
Нержавеющая сталь AISI 316 |
| Гайки | Нержавеющая сталь AISI 316, оцинкованы |
| Артикул | Dd, мм | H, мм | L, мм | Вес, кг |
| 727-0905-01200000 * | 110 | 325 | 190 | 7 |
| 727-0905-02200000 ** | 110 | 325 | 190 | 7 |
| 727-0905-03200000 *** | 110 | 325 | 190 | 7 |
| 727-0905-04200000 **** | 110 | 325 | 190 | 7 |
| 727-0905-05200000 ***** | 110 | 325 | 190 | 7 |
| 727-0905-06200000 ****** | 110 | 325 | 190 | 7 |
| 727-0906-01200000 * | 125 | 333 | 207 | 7,5 |
| 727-0906-02200000 ** | 125 | 333 | 207 | 7,5 |
| 727-0906-03200000 *** | 125 | 333 | 207 | 7,5 |
| 727-0906-04200000 **** | 125 | 333 | 207 | 7,5 |
| 727-0906-05200000 ***** | 125 | 333 | 207 | 7,5 |
| 727-0906-06200000 ****** | 125 | 333 | 207 | 7,5 |
| 727-0907-01200000 * | 140 | 340 | 226 | 9 |
| 727-0907-02200000 ** | 140 | 340 | 226 | 9 |
| 727-0907-03200000 *** | 140 | 340 | 226 | 9 |
| 727-0907-04200000 **** | 140 | 340 | 226 | 9 |
| 727-0907-05200000 ***** | 140 | 340 | 226 | 9 |
| 727-0907-06200000 ****** | 140 | 340 | 226 | 9 |
| 727-0908-01200000 * | 160 | 353 | 254 | 11 |
| 727-0908-02200000 ** | 160 | 353 | 254 | 11 |
| 727-0908-03200000 *** | 160 | 353 | 254 | 11 |
| 727-0908-04200000 **** | 160 | 353 | 254 | 11 |
| 727-0908-05200000 ***** | 160 | 353 | 254 | 11 |
| 727-0908-06200000 ****** | 160 | 353 | 254 | 11 |
| 727-0909-01200000 * | 200 | 371 | 300 | 14 |
| 727-0909-02200000 ** | 200 | 371 | 300 | 14 |
| 727-0909-03200000 *** | 200 | 371 | 300 | 14 |
| 727-0909-04200000 **** | 200 | 371 | 300 | 14 |
| 727-0909-05200000 ***** | 200 | 371 | 300 | 14 |
| 727-0909-06200000 ****** | 200 | 371 | 300 | 14 |
| 727-0910-01200000 * | 225 | 383 | 325 | 16 |
| 727-0910-02200000 ** | 225 | 383 | 325 | 16 |
| 727-0910-03200000 *** | 225 | 383 | 325 | 16 |
| 727-0910-04200000 **** | 225 | 383 | 325 | 16 |
| 727-0910-05200000 ***** | 225 | 383 | 325 | 16 |
| 727-0910-06200000 ****** | 225 | 383 | 325 | 16 |
* 1/2" резьба по стандарту BSP |
||||