
Серия 50/60
По DIN 3352, часть 4
Расстояние между торцами : по ГОСТ / CSN
Размеры фланцев и отверстий: по ISO 7005-2 (EN 1092-2: 1997, DIN 2501)
Для воды, сточных вод и нейтральных жидкостей с температурой до +70°С
Гидравлическое испытание по DIN 3230 часть 4:
Проверка рабочего крутящего момента
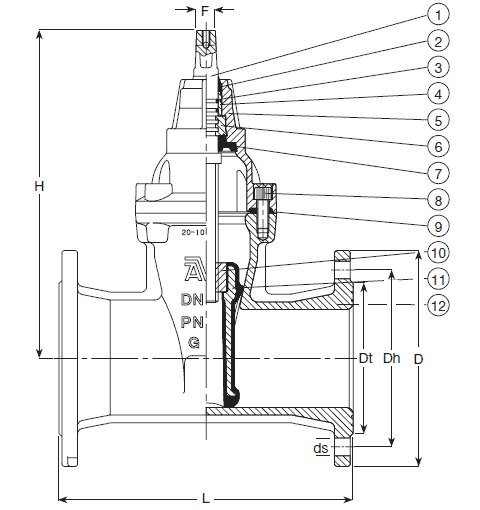
| 1. Шток |
| 2. Кольцо грязесъёмное из NBR |
| 3. Кольцо круглого сечения из NBR |
| 4. Подшипник |
| 5. Крышка корпуса |
| 6. Упорное кольцо |
| 7. Манжета из EPDM |
| 8. Болт крышки корпуса |
| 9. Прокладка крышки корпуса |
| 10. Гайка затвора |
| 11. Клиновой затвор |
| 12. Корпус |

| Корпус и крышка | ковкий чугун, GGG-50, по DIN 1693 (марка 500-7 по BS 2789) |
| Покрытие | Внутри и снаружи порошковое эпоксидное по DIN 30677, нанесённое электростатическим способом |
| Шток | Нержавеющая сталь, DIN x 20 Cr 13 |
| Уплотнение штока | Грязесъемное кольцо из NBR, внутри 2 кольца круглого сечения из NBR и 2 кольца снаружи пластмассового подшипника, манжета из EPDM |
| Клиновый затвор | Ковкий чугун GGG-50, с сердечником полностью вулканизированным резиной EPDM, где интегральная гайка клина – из устойчивой к обесцинкиванию латуни CZ 132 по BS 2874 |
| Упорное кольцо | Устойчивая к обесцинкиванию латунь CZ 132 по BS 2872 |
| Болты крышки | Нержавеющая сталь А2, пломбированы термоклеем |
| Прокладка крышки | Резина EPDM |
Артикул ГОСТ |
Артикул AVK |
DN | PN | L, мм | H, мм | Dt, мм | D, мм | Dh, мм | ds, мм | Кол-во отверстий |
F, мм | Вес, кг |
| 50-050-60016 | 02-050-20016 | 50 | 10/16 | 180 | 241 | 102 | 165 | 125 | 19 | 4 | 14 | 12 |
| 50-080-60016 | 50-080-60016 | 80 | 10/16 | 210 | 297 | 138 | 200 | 160 | 19 | 8 | 17 | 19 |
| 50-100-60016 | 02-100-20016 | 100 | 10/16 | 230 | 334 | 158 | 220 | 180 | 19 | 8 | 19 | 25 |
| 50-150-60016 | 43-150-60016 | 150 | 10/16 | 280 | 448 | 212 | 285 | 240 | 23 | 8 | 19 | 49 |
| 50-200-60006 | 50-200-60006 | 200 | 10 | 330 | 562 | 268 | 340 | 295 | 23 | 8 | 24 | 70 |
| 50-200-60016 | 50-200-60016 | 200 | 16 | 330 | 562 | 268 | 340 | 295 | 23 | 12 | 24 | 70 |
| 50-250-60006 | 02-250-6000 | 250 | 10 | 450 | 664 | 320 | 400 | 350 | 23 | 12 | 27 | 110 |
| 50-250-60016 | 02-250-6001 | 250 | 16 | 450 | 664 | 320 | 400 | 355 | 28 | 12 | 27 | 110 |
| 50-300-60006 | 02-300-6000 | 300 | 10 | 500 | 740 | 370 | 455 | 400 | 23 | 12 | 27 | 160 |
| 50-300-60016 | 02-300-6001 | 300 | 16 | 500 | 740 | 370 | 455 | 410 | 28 | 12 | 27 | 160 |
| 50-350-60006* | 02-350-60004 | 350 | 10 | 550 | 940 | 430 | 520 | 460 | 23 | 16 | 32 | 320 |
| 50-350-60016* | 02-350-60014 | 350 | 16 | 550 | 940 | 430 | 520 | 470 | 28 | 16 | 32 | 320 |
| 50-400-60006 | 02-400-60006 | 400 | 10 | 600 | 940 | 482 | 575 | 515 | 28 | 16 | 32 | 342 |
| 50-400-60016 | 02-400-60016 | 400 | 16 | 600 | 940 | 482 | 575 | 525 | 31 | 16 | 32 | 342 |
| 50-450-60006** | 02-450-60004 | 450 | 10 | 650 | 951 | 535 | 640 | 565 | 28 | 20 | 32 | 360 |
| 50-450-60016** | 02-450-60014 | 450 | 16 | 650 | 951 | 535 | 640 | 585 | 31 | 20 | 32 | 360 |
| 50-500-60006*** | 02-500-60004 | 500 | 10 | 700 | 951 | 590 | 715 | 620 | 28 | 20 | 32 | 417 |
| 50-500-60016*** | 02-500-60016 | 500 | 16 | 700 | 951 | 590 | 715 | 650 | 34 | 20 | 32 | 417 |
0 = PN 10
1 = PN 16
* у фланцев 350 мм по DIN 2501 - проход 400 мм
** у фланцев 450 мм по DIN 2501 - проход 400 мм
*** у фланцев 500 мм по DIN 2501 - проход 400 мм