
Серия 02/X0-20/30
По DIN 3352, часть 4
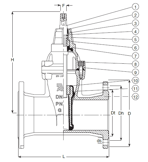
Расстояние между торцами : F5 по DIN 3202, часть 1
Размеры фланцев и отверстий: по ISO 7005-2 (EN 1092-2: 1997, DIN 2501)
Для воды, сточных вод и нейтральных жидкостей с температурой до +70°С
Гидравлическое испытание по DIN 3230 часть 4:
Проверка рабочего крутящего момента
| 1. Шток |
| 2. Кольцо грязесъемное из NBR |
| 3. Кольцо кругл. сечения из NBR |
| 4. Подшипник |
| 5. Крышка корпуса |
| 6. Упорное кольцо |
| 7. Манжета из EPDM |
| 8. Болт крышки корпуса |
| 9. Прокладка крышки корпуса |
| 10. Гайка затвора |
| 11. Клиновой затвор |
| 12. Корпус |

| Корпус и крышка | Серии 02/60 и 20/30 ковкий чугун, GGG-50, по DIN 1693 (марка 500-7 по BS 2789) |
| Корпус | Серия 02/50 серый чугун, GG-25, по DIN 1691 (марка 220/250 по BS 1452) |
| Крышка | (DN 40-150), Серия 02/50
(DN 200-400), Серия 02/50 ковкий чугун, GGG-50, по DIN 1693 (марка 500-7 по BS 2789) |
| Покрытие | Серии 02/50 и 02/60
Серии 02/30 |
| Шток | Нержавеющая сталь, DIN x 20 Cr 13 |
| Уплотнение штока | Грязесъемное кольцо из NBR, внутри 2 кольца круглого сечения из NBR и 2 кольца снаружи пластмассового подшипника, манжета из EPDM |
| Клиновый затвор | Ковкий чугун, с сердечником полностью вулканизированным резиной EPDM, где интегральная гайка клина – из устойчивой к обесцинкиванию латуни CZ 132 по BS 2874 |
| Упорное кольцо | Устойчивая к обесцинкиванию латунь CZ 132 по BS 2872 |
| Болты крышки | Нержавеющая сталь А2, пломбированы термоклеем |
| Прокладка крышки | Резина EPDM |
Артикул |
DN | L, мм | H, мм | Dt, мм | D, мм | Dh, мм | ds, мм | Кол-во отверстий | F, мм | Вес, кг | |||||
| GG-25 внутри эпокс. | GGG-50 внутри эпокс. | GGG-50 внутри эмаль | PN 10 | PN 16 | PN 10 | PN 16 | PN 10 | PN 16 | |||||||
| 02-040-5001 | 02-040-6001 | 20-040-3001 | 40 | 240 | 241 | 83 | 150 | 110 | 110 | 19 | 19 | 4 | 4 | 14 | 11 |
| 02-050-5001 | 02-050-6001 | 20-050-3001 | 50 | 250 | 241 | 102 | 165 | 125 | 125 | 19 | 19 | 4 | 4 | 14 | 12 |
| 02-065-5001 | 02-065-6001 | 20-065-3001 | 65 | 270 | 271 | 122 | 185 | 145 | 145 | 19 | 19 | 4 | 4 | 17 | 15 |
| 02-080-5001 | 02-080-6001 | 20-080-3001 | 80 | 280 | 297 | 138 | 200 | 160 | 160 | 19 | 19 | 8 | 8 | 17 | 19 |
| 02-100-5001 | 02-100-6001 | 20-100-3001 | 100 | 300 | 334 | 158 | 220 | 180 | 180 | 19 | 19 | 8 | 8 | 19 | 25 |
| 02-125-6001 | 20-125-3001 | 125 | 325 | 376 | 188 | 250 | 210 | 210 | 19 | 19 | 8 | 8 | 19 | 33 | |
| 02-150-5001 | 02-150-6001 | 20-150-3001 | 150 | 350 | 448 | 212 | 285 | 240 | 240 | 23 | 23 | 8 | 8 | 19 | 49 |
| 02-200-500X | 02-200-600X | 20-200-300X | 200 | 400 | 562 | 268 | 340 | 295 | 295 | 23 | 23 | 8 | 12 | 24 | 70 |
| 02-250-500X | 02-250-600X | 20-250-300X | 250 | 450 | 664 | 320 | 400 | 350 | 355 | 23 | 28 | 12 | 12 | 27 | 110 |
| 02-300-500X | 02-300-600X | 20-300-300X | 300 | 500 | 740 | 370 | 455 | 400 | 410 | 23 | 28 | 12 | 12 | 27 | 160 |
| 02-350-600X* | 20-350-300X* | 350 | 550 | 940 | 430 | 520 | 460 | 470 | 23 | 28 | 16 | 16 | 32 | 320 | |
| 02-400-500X | 02-400-600X | 20-400-300X | 400 | 600 | 940 | 482 | 575 | 515 | 525 | 28 | 31 | 16 | 16 | 32 | 342 |
| 02-450-600X** | 20-450-300X** | 450 | 650 | 951 | 535 | 640 | 565 | 585 | 28 | 31 | 20 | 20 | 32 | 360 | |
| 02-500-600X*** | 20-500-300X*** | 500 | 700 | 951 | 590 | 715 | 620 | 650 | 28 | 31 | 20 | 20 | 32 | 417 | |
* у фланцев 350 мм по DIN 2501 - проход 400 мм
** у фланцев 450 мм по DIN 2501 - проход 400 мм
*** у фланцев 500 мм по DIN 2501 - проход 400 мм