
Серия 02/20
По BS 5150 / DIN 3230 ч. 4 / DIN 3352
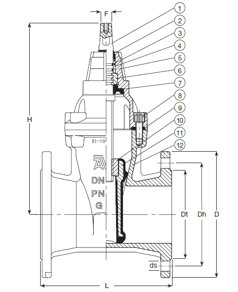
Расстояние между торцами по BS 5163 (ISO 5752 S.3)
Размеры фланцев и отверстий: по ISO 7005-2 (EN 1092-2: 1997, DIN 2501)
Для воды, сточных вод и нейтральных жидкостей с температурой до +70°С
Гидравлическое испытание по BS 5163 (DIN 3230 / DIN 3352):
Проверка рабочего крутящего момента
| 1. Шток |
| 2. Кольцо грязесъёмное из NBR |
| 3. Кольцо круглого сечения из NBR |
| 4. Подшипник |
| 5. Крышка корпуса |
| 6. Упорное кольцо |
| 7. Манжета из EPDM |
| 8. Болт крышки корпуса |
| 9. Прокладка крышки корпуса |
| 10. Гайка затвора |
| 11. Клиновой затвор |
| 12. Корпус |

| Корпус и крышка | ковкий чугун, GGG-50, по DIN 1693 (марка 500-7 по BS 2789) |
| Покрытие | Внутри и снаружи порошковое эпоксидное по DIN 30677, нанесённое электростатическим способом |
| Шток | Нержавеющая сталь, DIN x 20 Cr 13 |
| Уплотнение штока | Грязесъемное кольцо из NBR, внутри 2 кольца круглого сечения из NBR и 2 кольца снаружи пластмассового подшипника, манжета из EPDM |
| Клиновый затвор | Ковкий чугун GGG-50, с сердечником полностью вулканизированным резиной EPDM, где интегральная гайка клина – из устойчивой к обесцинкиванию латуни CZ 132 по BS 2874 |
| Упорное кольцо | Устойчивая к обесцинкиванию латунь CZ 132 по BS 2872 |
| Болты крышки | Нержавеющая сталь А2, пломбированы термоклеем |
| Прокладка крышки | Резина EPDM |
Артикул |
DN | L, мм | H, мм | Dt, мм | D, мм | Dh, мм | ds, мм | Кол-во отверстий | F, мм | Вес, кг | |||
| PN 10 | PN 16 | PN 10 | PN 16 | PN 10 | PN 16 | ||||||||
| 02-050-20 | 50 | 178 | 241 | 102 | 165 | 125 | 125 | 19 | 19 | 4 | 4 | 14 | 13 |
| 02-080-20 | 80 | 203 | 297 | 138 | 200 | 160 | 160 | 19 | 19 | 8 | 8 | 17 | 20 |
| 02-100-20 | 100 | 229 | 334 | 158 | 220 | 180 | 180 | 19 | 19 | 8 | 8 | 19 | 26 |
| 02-150-20 | 150 | 267 | 448 | 212 | 285 | 240 | 240 | 23 | 23 | 8 | 8 | 19 | 51 |
| 02-200-20 | 200 | 292 | 562 | 268 | 340 | 295 | 295 | 23 | 23 | 8 | 12 | 24 | 83 |
| 02-250-20 | 250 | 330 | 664 | 320 | 400 | 350 | 355 | 23 | 28 | 12 | 12 | 27 | 132 |
| 02-300-20 | 300 | 356 | 740 | 370 | 455 | 400 | 410 | 23 | 28 | 12 | 12 | 27 | 187 |
| 02-350-20 | 350 | 381 | 940 | 430 | 535 | 450 | 470 | 23 | 28 | 16 | 16 | 32 | 247 |
| 02-400-20 | 400 | 406 | 940 | 482 | 575 | 515 | 525 | 28 | 31 | 16 | 16 | 32 | 287 |