
Серия 41
С эластичным запиранием, со свободным концом вала или закрытыми концами вала.
Межфланцевое расстояние - по DIN 3202-F6 / BS 5153: 1974 (1991) короткое
Размеры фланцев и отверстий: по ISO 7005-2 (EN 1092-2: 1997, DIN 2501)С диском из массивной резины и интегрированным коромыслом
Межфланцевое расстояние по DIN 3202-F6 / BS 5153: 1974 (1991) короткое
Размеры фланцев и отверстий: по ISO 7005-2 (EN 1092-2: 1997, DIN 2501)
Для питьевой воды и сточных вод с температурой до +70°С.
Допускается бесколодезная установка.
по BS 5153: 1974 (1991)
|
|


| 1. Шайба | 9. Прокладка крышки |
| 2. Нейлоновая распорка | 10. Корпус |
| 3. Болт | 11. Кольцо кругл.сеч. |
| 4. Диск | 12. Кольцо кругл.сеч. |
| 5. Шайба | 13. Втулочный болт |
| 6. Шестигранный болт | 14. Шпилька |
| 7. Коромысло | 15. Вал |
| 8. Крышка |
| Корпус и крышка | Шарографитный чугун GJS-400-7 (GGG-40) с порошковым эпоксидным покрытием по DNI 30677-2, нанесённое электростатическим способом. Утверждено GSK |
| Прокладка крышки | Кольцо круглого сечения из NBR |
| Шар | DN 32-100 - алюминий, обрезинен NBR DN 125-400 - чугун GG-25, обрезинен NBR |
| Болты, шайбы и гайки | Нержавеющая сталь А2 |
| Артикул (DIN) | Артикул (BS) | PN | DN, мм | L (DIN), мм | L (BS), мм | H, мм | Dt, мм | D, мм | Dh, мм | ds, мм | Кол-во отверстий | Вес, кг |
| 41-050-61018 | 41-050-21018 | 16 | 50 | 200 | 203 | 110 | 102 | 165 | 125 | 19 | 4 | 13 |
| 41-065-61018 | 41-065-21018 | 16 | 65 | 240 | 216 | 140 | 122 | 185 | 145 | 19 | 4 | 17 |
| 41-080-61018 | 41-080-21018 | 16 | 80 | 260 | 241 | 140 | 138 | 200 | 160 | 19 | 8 | 20 |
| 41-100-61018 | 41-100-21018 | 16 | 100 | 300 | 292 | 150 | 158 | 220 | 180 | 19 | 8 | 26 |
| 41-125-61018 | 41-125-21018 | 16 | 125 | 350 | 330 | 195 | 188 | 254 | 210 | 19 | 8 | 40 |
| 41-150-61018 | 41-150-21018 | 16 | 150 | 400 | 356 | 195 | 212 | 285 | 240 | 23 | 8 | 51 |
| 41-200-61018 | 41-200-21018 | 10 | 200 | 500 | 495 | 230 | 268 | 340 | 295 | 23 | 8 | 83 |
| 41-200-61008 | 41-200-21008 | 16 | 200 | 500 | 495 | 230 | 268 | 340 | 295 | 23 | 12 | 83 |
| 41-250-61018 | 41-250-21018 | 10 | 250 | 600 | 622 | 270 | 320 | 406 | 350 | 23 | 12 | 183 |
| 41-250-61008 | 41-250-21008 | 16 | 250 | 600 | 622 | 270 | 320 | 406 | 355 | 28 | 12 | 183 |
| 41-300-61018 | 41-300-21018 | 10 | 300 | 700 | 699 | 300 | 370 | 460 | 400 | 23 | 12 | 231 |
| 41-300-61008 | 41-300-21008 | 16 | 300 | 700 | 699 | 300 | 370 | 460 | 410 | 28 | 12 | 231 |
| Артикул (DIN) | Артикул (BS) | PN | DN, мм | L (DIN), мм | L (BS), мм | H, мм | Dt, мм | D, мм | Dh, мм | ds, мм | Кол-во отверстий | Вес, кг |
| 41-050-60018 | 41-050-20018 | 16 | 50 | 200 | 203 | 110 | 102 | 165 | 125 | 19 | 4 | 13 |
| 41-065-60018 | 41-065-20018 | 16 | 65 | 240 | 216 | 140 | 122 | 185 | 145 | 19 | 4 | 17 |
| 41-080-60018 | 41-080-20018 | 16 | 80 | 260 | 241 | 140 | 138 | 200 | 160 | 19 | 8 | 20 |
| 41-100-60018 | 41-100-20018 | 16 | 100 | 300 | 292 | 150 | 158 | 220 | 180 | 19 | 8 | 26 |
| 41-125-60018 | 41-125-20018 | 16 | 125 | 350 | 330 | 195 | 188 | 254 | 210 | 19 | 8 | 40 |
| 41-150-60018 | 41-150-20018 | 16 | 150 | 400 | 356 | 195 | 212 | 285 | 240 | 23 | 8 | 51 |
| 41-200-60008 | 41-200-20008 | 10 | 200 | 500 | 495 | 230 | 268 | 340 | 295 | 23 | 8 | 83 |
| 41-200-60018 | 41-200-20018 | 16 | 200 | 500 | 495 | 230 | 268 | 340 | 295 | 23 | 12 | 83 |
| 41-250-60008 | 41-250-20008 | 10 | 250 | 600 | 622 | 270 | 320 | 406 | 350 | 23 | 12 | 183 |
| 41-250-60018 | 41-250-20018 | 16 | 250 | 600 | 622 | 270 | 320 | 406 | 355 | 28 | 12 | 183 |
| 41-300-60008 | 41-300-20008 | 10 | 300 | 700 | 699 | 300 | 370 | 460 | 400 | 23 | 12 | 231 |
| 41-300-60018 | 41-300-20018 | 16 | 300 | 700 | 699 | 300 | 370 | 460 | 410 | 28 | 12 | 231 |

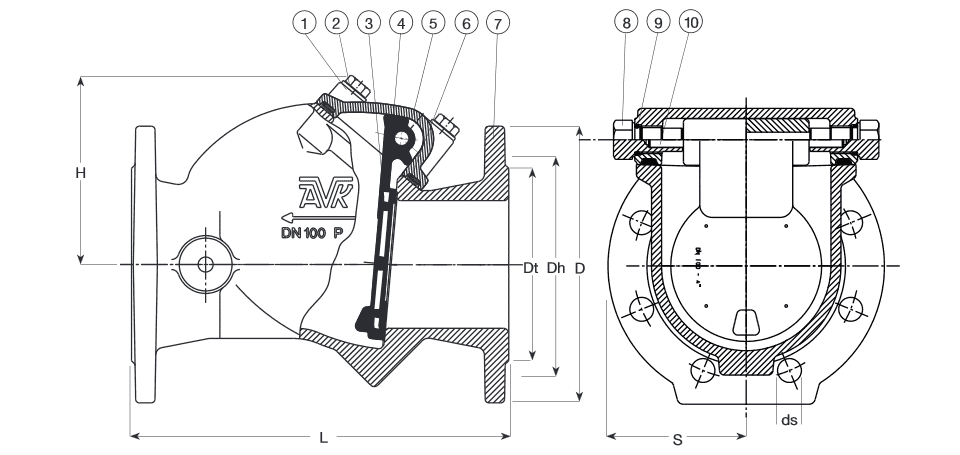
| 1. Шайба | 6. Прокладка крышки |
| 2. Шестигранный винт | 7. Корпус |
| 3. Вставка диска | 8. Втулочный болт |
| 4. Диск | 9. Кольцо круглого сечения |
| 5. Крышка | 10. Вал |
| Артикул (DIN) | Артикул (BS) | PN | DN, мм | L (DIN), мм | L (BS), мм | H, мм | Dt, мм | D, мм | Dh, мм | ds, мм | Кол-во отверстий |
S, мм | Вес, кг |
| 41-050-69018 | 41-050-29018 | 16 | 50 | 200 | 203 | 110 | 102 | 165 | 125 | 19 | 4 | 160 | 13 |
| 41-065-69018 | - | 16 | 65 | 240 | - | 140 | 122 | 185 | 145 | 19 | 4 | 160 | 17 |
| 41-080-69018 | 41-080-29018 | 16 | 80 | 260 | 246 | 140 | 138 | 200 | 160 | 19 | 8 | 160 | 20 |
| 41-100-69018 | 41-100-29018 | 16 | 100 | 300 | 292 | 150 | 158 | 220 | 180 | 19 | 8 | 175 | 26 |
| 41-125-69018 | - | 16 | 125 | 350 | - | 195 | 188 | 254 | 210 | 19 | 8 | 220 | 40 |
| 41-150-69018 | 41-150-29018 | 16 | 150 | 400 | 356 | 195 | 212 | 285 | 240 | 23 | 8 | 220 | 51 |
| 41-200-69008 | 41-200-29008 | 10 | 200 | 500 | 495 | 230 | 268 | 340 | 295 | 23 | 8 | 240 | 83 |
| 41-200-69018 | 41-200-29018 | 16 | 200 | 500 | 495 | 230 | 268 | 340 | 295 | 23 | 12 | 240 | 83 |